泵的知識 PUMP KNOWLEDGE
行業(yè)新聞
您當前位置:網站首頁 >> 泵的知識 >> 詳情內容
管道泵進水口和出水口辨別
時間:2020/9/5 來源:浙江揚子江泵業(yè)有限公司
管道離心泵是供輸送清水及物理化學性質類似于清水的其它液體之用,適用于工業(yè)和城市給排水、高層建筑增壓送水、園林噴灌、消防增壓、遠距離輸送、暖通制冷循環(huán)、浴室等冷暖水循環(huán)增壓及設備配套管道泵的進出水口大小一樣并且中心離地面的高度也一樣,很多人可能錯誤的以為管道泵安裝不需要確定方向,這是錯誤的,如果方向不對會導致壓力上不去或者水壓不夠,下面介紹一下管道泵進出水口方向的辨別方法:
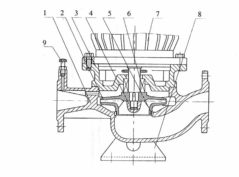
管道離心泵
管道泵進水口和出水口辨別
一、一般管道泵都是有標識的,在泵體或者底座上的箭頭指向就是管道泵的出水口,剩余的那個就是進水口。
二、觀察結構,越靠近底座的就是進水口,如下圖右邊方向就越靠近底座,這就是進水口,水流進去被葉輪(2指向)吸入然后甩出去就到了出水口從而進入管路。
三、一般管道泵出水口有銅質排氣閥,用于排氣或者安裝其他傳感器用途,帶有這個部件的就是出水口。如果你還是不能辨別,請聯系我們尋求技術支持。
- 下一篇:自吸式磁力泵故障原因以及解決方案
- 上一篇:管道泵與管道增壓泵的區(qū)別











